
快速擇校

政策解讀
010-51291557
客服熱線:8:00-20:00
2025年廣東高考報名將從2024年11月1日開始,截止時間為11月10日,為期10天,考生須在此時間段內進入廣東省教育考試院中的高考報名系統完成報名工作。廣東高校招生將為大家依次展示:2025年廣東高考報名時間、報名條件、加分政策、報名材料等相關信息。
1、2025廣東高考報名時間
廣東省2025年普通高校招生統一考試(簡稱普通高考)的報名工作將于2024年11月1日至10日進行。考生需在此時間段內完成系統注冊、網上報名及確認報名三個步驟。
系統注冊和網上報名的具體時間:11月1日至10日
確認報名的具體時間:11月6日至10日
2、2025廣東高考報名條件
廣東省2025年高考報名條件相對明確,主要包括以下幾個方面:
(1)身份要求:考生必須是廣東省戶籍的中國公民,或符合廣東省隨遷子女高考報名條件的非戶籍考生。身份證號前兩位為44的廣東戶籍考生,如果報名系統核查戶籍信息驗證通過,則無需上傳身份證和戶口簿掃描件。
戶籍從外省遷入我省的考生,則需根據應屆或往屆的不同情況,分別辦理《廣東省2025年普通高考報名應屆畢業生學籍戶籍審核表》或《廣東省2025年普通高考報名往屆畢業生報名資格審核表》。
(2)學歷要求:考生需具備高級中等教育學校畢業或同等學力,即完成高中階段學業或通過其他方式證明達到高中畢業同等學力水平。2025年普通高中應屆畢業生需在2025年7月前通過普通高中學業水平合格性考試,并取得高中畢業學歷,才能正常進行錄取和入學。
(3)身體健康:考生需身體健康,符合高校招生體檢標準,無影響正常學習的疾病或殘疾。
(4)誠信要求:考生需遵守國家法律法規,誠實守信,無違法違紀記錄。
3、2025年廣東高考報名系統網站與流程
在11月1日至10日內,考生需通過廣東省教育考試院官方網站(https://eea.gd.gov.cn/)上的高考報名系統進行注冊和報名。
報考過程中,考生需認真閱讀《考生須知》和《廣東省2025年普通高校招生統一考試考生誠信考試承諾書》,確認無誤后方可繼續填報其他信息。
此外,考生還應妥善保管自己的系統密碼,以便在后續環節如修改個人資料、填報志愿、查詢考試成績和錄取結果時使用。

廣東省2025年高考對部分考生實行加分政策,以體現教育公平和鼓勵多樣性。考生可以在《2025年普通高考加分資格考生信息采集分類表》中查看自己是否符合加分條件,并在報名時申報。符合加分資格的考生需要在規定時間內提交相關證明材料,經過初審和復核后,方可獲得加分資格。
加分政策涵蓋多個方面,包括但不限于:烈士子女、在服役期間榮立二等功以上或被戰區(原大軍區)以上單位授予榮譽稱號的退役軍人、歸僑、華僑子女、歸僑子女和臺灣省籍(含臺灣戶籍)考生、少數民族聚居區的少數民族考生等。具體加分項目和分值根據相關政策執行。

考生報名時需準備相應的材料,確保報名信息的真實性和準確性。以下是根據考生類型分別列舉的所需材料:
1、應屆生:
身份證
戶口本
根據戶籍情況可能需要提供的《廣東省2025年普通高考報名應屆畢業生學籍戶籍審核表》

2、往屆生/復讀生:
身份證
高中畢業證(或高中同等學力證明)
戶口本
根據戶籍情況可能需要提供的《廣東省2025年普通高考報名往屆畢業生報名資格審核表》

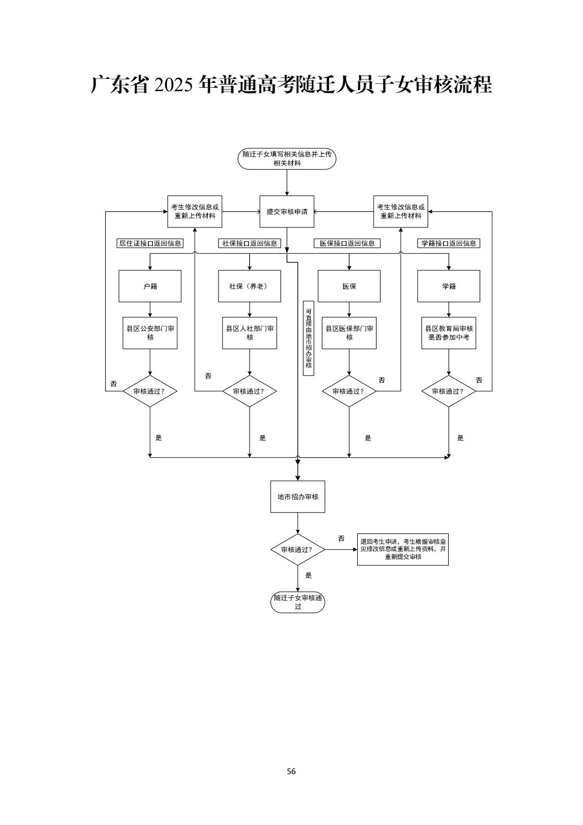
3、隨遷子女考生:
身份證
戶口本
《廣東省2025年進城務工人員隨遷子女高考報名資格審核表》
相關的父母工作和居住證明材料


4、殘疾考生:
除常規報名材料外,還需填寫《殘疾人報考廣東省2025年普通高考合理便利申請表》,并提供殘疾證等相關證明材料。

考生需注意,所有復印件材料需由檢驗員簽名、寫明日期,并加蓋地級市招生辦公室公章。報名完成后,考生還需在規定時間內完成體檢,體檢結果將作為錄取的重要參考依據。
廣東省2025年高考報名政策在報名時間、條件和所需材料等方面均作出了明確規定,以確保考試的公平、公正和順利進行。考生和家長應密切關注官方通知,提前準備好相關材料,并按時完成報名手續。
推薦閱讀
本站覆蓋全國各省市專本科院校及計劃外招生院校,匯總各校招生要求及專業信息,如您今年尚未被任何院校錄取,請自愿填寫下表,我們將在全國范圍內篩選適合您就讀的大學,安排校方老師與您溝通。即刻報名,圓大學夢!
報名咨詢電話:010-51291557
高校招生網
想了解一下加分政策